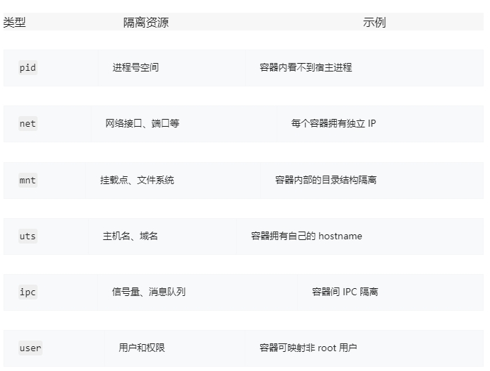
Docker是云原生的核心,掌握好Docker核心原理,对于掌握好Docker至关重要@mikechenDockerDocker 是一个开源的容器化平台,它允许开发者将应用程序、及其依赖项打包到一个称为容器的轻量级、可移植的单元中。Docker核心原理详解(图文全面总结)这些容器可以在任何支持 Docker 的环境中运行,从而实现了“一次构建,到处运行”...

如何下载订阅Cursor?1.Cursor是什么?CursorAI目前最好的编程助手,独一档的存在,为什么说它独一档,因为它是目前订阅人数最多的AI编程工具。Cursor是一款基于VSCode构建的AI驱动代码编辑器,所以对于习惯VSCode的程序员来说,Cursor会更容易上手(Windsurf也是基于VSCode)。Cursor最大的功能就是提...

今天跟大家侃侃我用Cursor的那些小心得。快捷键玩出花!前两天我侄子小明来找我,说写代码太慢了,手都酸。我一看他coding的样子,简直不忍直视啊!复制粘贴、删除、格式化,鼠标点得那叫一个欢实。“诶,停停停!”我赶紧喊住他,“用Cursor不会快捷键,那不就跟开法拉利...

解放双手的第一步!“诶,小王,我看你码代码老费劲了,手都起茧子了吧?”我忍不住搭话。小王一脸困惑:“钱哥,这不是正常嘛?代码不就得一行行敲?”“嗨,现在都啥年代了,来来来,我给你看个宝贝。”我打开电脑,展示了Cursor界面,“这个AI编程助手,不光能帮你自动...

Plan -> Act避免 Cursor 一上来就无脑改代码,可以让它先输出自己的修改计划,等用户确认后再执行修改。从 Plan Mode -> Act Mode:---description: when you handle each requestglobs: *alwaysApply: false---You have two modes of operation:1. Plan mode - You will work with the user to define a plan, you w...

购软平台Cursor代理商价格解析:如何选择合适的代理商随着互联网的飞速发展,软件代理商在行业中的重要性愈加凸显。特别是在市场竞争日益激烈的环境下,企业对于代理商的选择变得愈加谨慎。特别是购软平台中的Cursor代理商,其价格与服务质量备受关注。本文将对Cursor代理商的价格进行详细解析,并提出选择合适代理商...

Cursor代理商:开启数字营销的新篇章在当今数字化的时代,企业之间的竞争愈发激烈,而如何在这个信息爆炸的环境中脱颖而出,获得更多的流量和客户,成为了每个企业必须面对的挑战。Cursor代理商正是应运而生,致力于帮助企业提升在线曝光率,实现流量的有效转化。本文将深入探讨Cursor代理商的功能、优势以及如何选...

让你的工作更高效:深入了解Cursor软件的用途与优势在现代职场中,效率与生产力至关重要。随着技术的快速发展,各类软件应运而生,帮助用户优化工作流程、提高工作效率。其中,Cursor软件作为一款备受关注的工具,凭借其独特的功能与强大的性能,逐渐成为很多职业人士的得力助手。那么,Cursor软件到底是干嘛的?它能...

最重要的是Composer 的功能被集成到Agent 中,Agent模式可以自动执行。聊天选项卡,自定义模式和更快的索引此版本引入了用于并行对话的聊天选项卡、具有自定义模式的重新设计的模式系统以及对成本可见性、索引性能和 MCP 可靠性的改进。此外,聊天结束时会播放声音通知内置模式和自定义模式(beta)代理和询问模式是 Cursor...

今天,分享一个我用Cursor解决了一个现实的需求。刚学习AI编程三四天,能立马解决现实生活的需求,还是有一点小小的成就感的。这篇文章我会分享我在做这个小项目的具体流程,包括怎么开始做这个项目,项目做完后怎么部署上线的,我都会提到。感兴趣的可以看下去。一、真实需求怎么来的?需求起因:朋友这两年在做黄金,问我...

品质保证
多年的生产力软件专家
专业实力
资深技术支持项目实施团队
安全无忧
多位认证安全工程师
多元服务
软件提供方案整合,项目咨询实施
购软平台-找企业级软件,上购软平台。平台提供更齐全的软件产品、更专业的技术服务,同时提供行业资讯、软件使用教程和技巧。购软平台打造企业级数字产品综合应用服务平台。用户体验和数字类产品的专业化服务是我们不断追求的目标。购软平台您身边的企业级数字产品优秀服务商。
沪公网安备31011302006932号